您当前的位置:首页 >> 行业新闻 >> 新闻资讯
 
商标注册丨疯狂星期四,V我50!肯德基申请“疯狂星期四”商标屡次被驳!
来源:惠州市韵晓知识产权代理有限公司 | 发布时间:2022/9/1 | 浏览次数:


随着网络热词的流行,越来越多正经或非正经的名词出现在各种各样的内容中,人们使用得非常得心应手,仿佛该词汇就是原本为其而生似的。当然小知也是这其中一人,所以各位老板们,今天就是一周一次的疯狂星期四,V我50带你品尝肯德基9.9的吮指原味鸡加黄金脆皮鸡。






据商标网显示,“疯狂星期四”商标截止至目前共计有7件申请注册,其中4件被驳回,2件已注册成功,1件处于初审公告。


注册成功的分别有肯德基以国际分类为第43类餐饮住宿和沛县某科技公司以国际分类为第35类广告销售的“疯狂星期四”商标。


那疯狂星期四是怎么来的呢?早在2018年,肯德基推出的每周四的固定活动,将其以疯狂星期四作为标语进行宣传:“疯狂星期四,xx九块九”,告知消费者在这一天有着优惠力度非常大的套餐,可以当个尽职且省钱的小吃货。


但实施下来的效果却不理想,消费者并不买单,而肯德基也坚持不懈,一直坚持到2021年,终于“疯狂星期四”被疯传,更是有疯四文学和话题出圈,大量网友结合社会热点对文案进行二次创作,一传十十传百的被广大消费者所熟知,现在只要说起星期四便会想到肯德基。

(图片来源于互联网)


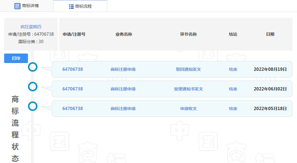
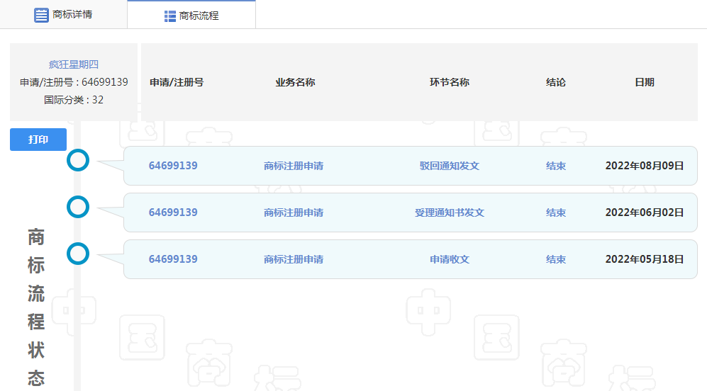
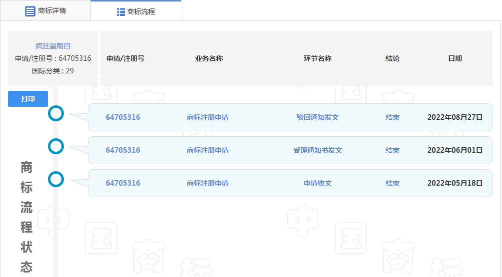
“疯狂星期四”名气打响后肯德基就注册了第一件商标并获得核准注册,一件商标肯定是不够的,为了保护商标肯德基在2022年5月18日向商标局申请注册国际分类为第29类食品、第30类方便食品和第32类啤酒饮料的“疯狂星期四”商标,但在8月份这些商标陆续被驳回


(图片来源于商标网)


(右滑动可查看更多)


我们从商标网得知肯德基已有注册成功的先例,为何这次屡屡被驳回呢?其实商标被驳回的原因有很多,比如商标与他人商标构成近似、已被他人注册、商标缺乏显著性等情况都有可能存在。但最终为何被驳回的具体原因目前还不知,且看肯德基是否会驳回复审。


若商标出现被驳回的情况,莫要着急,先弄清楚商标被驳回的原因,若有可复审的机会一定不可错过,整理相关资料提交复审。


当然肯德基若是积极复审,那么这个商标还有一线生机,让我们拭目以待吧!



上一篇:韵晓动态丨我司曾雯洁随同协会赴惠州市汝湖镇乡村振兴人才驿站交流调研!
下一篇:韵晓案例丨艾美睫毛对沐森生物“ROUUY KING”商标无效宣告,判了!
版权所有:惠州市韵晓知识产权代理有限公司
地址:广东省惠州市惠城区惠州大道11号佳兆业中心二期A座2单元10层02号 备案编号:粤ICP备15105277号

在线客服

点击这里给我发消息
点击这里给我发消息